長い長い滑り台のような一か月でした。
皆様気は確かでしょうか。
私は幸い(?)にもぽこあポケモンにドはまりして株を触る暇が無かったため、メンタル的にはそこまでダメージを受けませんでした。
子育て中の親から1ヶ月で60時間奪っていく沼コンテンツに、一緒にはまりましょう
リンク
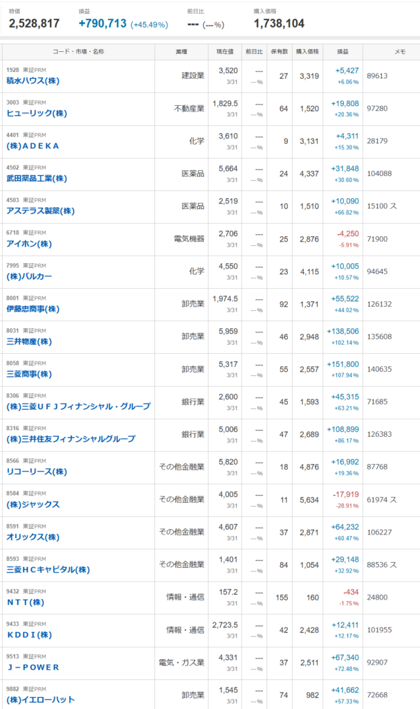
購入銘柄
- 4401 ADEKA
- 8306 三菱UFJ
- 9882 イエローハット
すべて17日に購入しました。
この一瞬だけ、サンドボックスの世界から帰ってくることが出来ました。
ADEKAは先月の決算から下落が続いていて、この時点で-20%と他の銘柄よりも暴落していました。
17日以降も下げ続けていて心配です。化学系は石油の影響が大きそうですからね……。
銀行系はこの日あたりが底だったようで、現在はじわじわ回復してきています。
イエローハットも同じく底値は17日付近でしたが、そこから戻してはいません。
三者三様の結果になりました。
そして、KDDIの決算がようやく発表されました。
下方修正だったものの、最高益であることに変わりはないようです。
追加投資していくかどうかは考え中です。
現在のポートフォリオ

まさか先月のまとめで「100万いくかも!」と書いたのがフラグになるなんて思わないじゃないですか……。
含み益が約20万無くなりました。
一旦下げは落ち着いた様に見えますが、決算への悪影響としてはむしろここから顕在化してくるはずなので、注意していきたいです。
私事ではありますが4月中旬から手術入院をするため、次の投資記録は5月にまとめて投稿する予定です。
病院でも物資が不足している!というニュースが散見されていますが、ひとまず私の手術は予定通り行われそうで安心しています。


コメント